RIFE RAY TUBE: ORIGINAL RIFE RAY TUBES
WHAT THEY DID AND HOW TO MAKE

LECTURE GIVEN BY GARY WADE ON SEPTEMBER 26 , 1999 AT EDMUNTON, ALBERTA CANADA

This lecture (APPENDIX B) has been slightly modified and lengthened for the internet presentation (11/8/99). This is worth the effort, but for those with a less technical orientation RIFE THERAPY MADE SIMPLE)

 

1a) Tube construction

b) Tube light output pattern relative to electrical signal input and its ability to make sound waves (pressure waves) in target (patient).

c) Tube as direct ultrasound generator from activity of violent ion movement inside discharge tube.

d) Tube as multipole field generator which affects tube glass wall and charged particles and dielectric material in the target (patient).

e) How ultrasound effects periodically spaced elastically coupled and closed on themselves clumped protein structures.

2a) NEW TYPE OF "RIFE RAY TUBE" Tube construction

b) Tube light output pattern relative to electrical signal input

c) Tube as a multipole field generator

d) Tube as a direct ultrasound generator

e) Voltage wave forms to use with new / old Rife tubes

f) Simple electrical circuits to use with new / old Rife tubes

 

1a) Tube construction

Apparently on a hunch Dr. Royal Raymond Rife came up with the idea of an audio to radio frequency intensity modulated gas discharge source for destroying microbes. He called this device a frequency instrument. The original Rife tubes used in Rife's frequency instruments were old time X - ray tubes that had been back filled to a low pressure with helium and or argon gas. The X - ray tube had a hot tungsten filament and a flat metal plate surface, a few inches away from the filament, for tube electrodes. The tube envelope was spherical and made of fused quartz (see Figure 1).

 

1b) Tube light output pattern relative to electrical signal input and its ability to make sound waves (pressure waves) in target (patient).

The tubes were apparently driven by two oscillators. One oscillator a sine or square wave oscillator which supplied the driving voltage and current to the gas filled X - ray tube. The second oscillator was of a lower frequency and was probably a square wave oscillator used to turn on and off (modulate) the higher frequency being supplied to the X - ray tube. This X - ray tube had a hot tungsten cathode which gave the tube some diode characteristics. That is a preference for current flow in only one direction. However, do to the high operating voltages used ( ~ 900 volts RMS ) at low gas pressure, along with the ample ion / electron generation from ultraviolet light emissions from the metastable states of the inert gases used, the tube was electrically conductive in both directions. Figure 1 shows a qualitative diagram of the frequency instrument.

Figure 2 shows a amplitude modulated sine wave voltage being chosen for the driving voltage for the tube. Figure 3 shows the magnitude of electron current flow through the "diode" generated by the voltage signal from the oscillator. The current flows in both directions, but there is a preferred direction do to the ability of the hot cathode to easily supply electrons when it is negatively charged relative to the plate (anode). Note that the current flow is not proportional to the voltage. This is for two reasons. First, the electron emission from the hot cathode is not a linear function of plate - cathode potential difference (voltage). Figure 4 illustrates how electron emission current depends on plate voltage and filament temperature. Secondly, the electrons gain kinetic energy on the way to the anode and if the tube driving voltage is high enough (and it is) the electrons gain enough energy to be able to ionize one or more helium / argon atoms during collisions with them while transiting the ray tube. These freed electrons join in the current flow across the tube and also make collisions freeing more electrons. The light emission rate from the tube which determines the light intensity is proportional to electron collision rate with helium / argon atoms. The electron collision rate with helium / argon atoms at a constant tube voltage is approximately proportional to the electron current. Therefore, we should expect the light output intensity of the ray tube to have the same shape as the electron current magnitude of Figure 3. Also, note that the X - ray tube wall was of fussed quartz and therefore passed ultraviolet, visible, and upper end IR "light". Light carries momentum and when light is absorbed or reflected there is a momentum exchange with the absorbing and or reflecting target. This momentum exchange is expressed as a force on the target, which is proportional to the amount of momentum exchanged, which is proportional to the light intensity. Therefore, a light source which produces a time varying light intensity output will produce a time varying force (pressure wave) on / in the target.

Rife discovered that when he would observe a microbe (be it a bacteria, rickettsia, virus, and or protozoa) under his microscope while exposing that particular microbe to a particular discharge pulse rate (light flashing rate) from the frequency instrument the microbe would be deactivated. He found that all microbes had their own specific discharge pulse rate (frequency) which deactivated them. Rife called these their mortal oscillation rate (MOR). Note that there are two light pulses per single complete voltage oscillation cycle. In other words there is a frequency doubling effect here. Rife suspected that some sort of mechanical resonance phenomena in the microbe's structure was at work in this deactivation process. However, he apparently did not have any specifics about what the process was. Depending on the output light intensity and the direct tube wall ultrasound output of the frequency instrument when operated at the MOR for a particular microbe, the microbe's reaction could vary from just loosing its characteristic florescent or luminescent color (as seen in the field of view of the Rife microscope) to the microbe violently exploding.

In Figure 2 we used a an amplitude modulated voltage sine wave to drive the tube. We could of as well used a amplitude modulated voltage square wave. The results would be similar to our current result, but the electron current curves of Figure 3 would be more abrupt and therefore so would be the light intensity profile. Also, the tube shock waves generated by the oscillating current flows are stronger with voltage square waves being used as will be discussed in the next section.

 

1c) Tube as direct ultrasound generator from activity of violent ion movement inside discharge tube.

Figure 5 illustrates the typical conditions occurring in a steady state direct current discharge in a gas at low pressure, called a glow discharge. Note how the charged ions separate themselves out into steady state patterns. Now image that the polarity on the tube electrodes was abruptly reversed. The glow discharge would immediately reorganize itself into the mirror image of what is shown in Figure 5. This abrupt reorganization will cause the generation of a violent shock wave inside the tube, if the time interval for polarity reversal is significantly less than the time it takes a normal sound pressure wave to cover the distance between the electrodes. This shock wave generation is do to the rapid group collision between the ions and neutral atoms / molecules during reorganization. These shock waves will react with the tube wall deforming it and causing pressure waves to be sent into the room air. Continuous abrupt polarity reversals on the tube electrodes will cause the continuous production of pressure waves into the room with a main frequency component equal to the polarity reversal rate. We should also expect the tube to act as a resonance chamber for specific frequencies of ultrasound generated by the shock waves.

 

1d) Tube as multipole field generator which effects tube dielectric wall material and charged particles and dielectric material in the target (patient).

Examining Figure 5e we see that there are regions of net positive and negative charge created during the discharge process. These net charges have associated electric fields which extend outside the tube discharge region well into the room surrounding the tube. These electric fields interact with the charged ions of the patient's body fluids. As the net charge distributions oscillate back and forth in the tube, their associated electric fields oscillate at the patient's location causing oscillations in the force on charged particles (ions) in the patient. This causes oscillating motion in the ions imbedded in the patient's body fluids. This intern causes pressure waves (ultrasound) to be generated from collisions of ions with mainly water molecules.

Also, it should be noted that the dielectric material of the tube wall (fussed quartz) is polarized / deformed by the electric fields associated with the net charge distributions occurring inside the discharge tube. The rapid oscillating polarization / deformations associated with the oscillating discharge current produces ultrasound in the room air. Figure 6 illustrates how a piston moving with a sinusoidal velocity creates a sinusoidal pressure wave in air. The same kind of sinusoidal velocity movement of a tube wall will produce a sinusoidal pressure wave to be sent into the room air.

 

1e) How ultrasound effects periodically spaced elastically coupled and closed on themselves clumped protein structures.

About half the viruses that infect plants and animals have a outer coat (capsid) which has an intrinsic geometry as illustrated in Figures 7A and 7B. In animals the outer coat (capsid) of the virus is also covered with a bi-lipid layer obtained from the infected host cell from which the virus budded off of. Other virus types that will not be talked about here have analogous or similar symmetries and periodisities which make them also susceptible to easy disruption and distruction from specific frequencies of ultrasound.

In Figure 8 the black dots represent spheroid shaped large single protein molecules. Usually two or more types of protein spheroids make up the virus capsid coat. These large protein molecules are deformable and are elastic in nature. Figures 9A, B, and C show three different views of the icosahedral shown in Figure 7A. Figures 9D, E, and F are the deformed / expanded views of Figures 9A, B, and C as would be caused by osmotic pressure, hydrophilic, and hydrophobic interactions of the capsid coat with its environment, for real viruses. Figures 10A, 10B and 10C illustrate the periodically spaced, elastically coupled, closed on themselves protein clump structures that are formed when Figure 8 is folded into an icosahedral of Figure 7B.

When real viruses of the structural type as illustrated in Figure 7B are in living tissue they are deformed into spheroids. This is do to the interaction of the virus capsid with the environment. The bi-lipid coat on the surface of the capsid has an affinity with water and this tends to deform the capsid into a sphere and with tension on the surface. The capsid and its outer bi-lipid coat form a simi-permeable membrane and the phenomena of osmotic pressure causes the capsid to expand and be under tension. There are other hydrophobic and hydrophilic reactions that can cause and contribute to capsid deformation as was illustrated in Figures 9D, E, and F.

The bonds between adjacent protein molecules in the virus capsid coat are generally hydrogen bonds and these are relatively weak chemical bonds. To a first approximation we can treat each protein clump (molecule) in the capsid coat as a simple harmonic oscillator as illustrated in Figure 10C. Imagine in Figure 10C that the center of mass is a steel ball. Imagine that steel ball has two elastic cords attached to it and that the cords are attached to the ceiling and floor respectfully. And furthermore, the elastic cords are under some tension. Now imagine that the ball is pulled back and let go. The ball will oscillate back and forth at some constant frequency. If the tension is now increased in the cords and the ball is again pulled back and let go, the ball will again oscillate back and forth at a constant frequency, but now at a higher frequency. In fact the frequency of oscillation will vary approximately proportional to the square root of the tension in the cords for small displacements from equilibrium of the ball. If the ball is exposed to some small rhythmic driving force of the same frequency of oscillation that is natural for the mass of the ball and the tension in the cords present, then the amplitude (displacement from equilibrium) of oscillation will increase until the energy release into the surrounding environment by the motion of the ball and cords per oscillation cycle equals the energy being supplied per cycle by the rhythmic force. However, the larger the amplitude (displacement from equilibrium) of the oscillation, the larger the stress on where the elastic cords are attached. If the cords are not well secured to the ceiling or floor, the cords may decouple before the system goes into equilibrium with the rhythmic driving force. In the case of the periodically spaced, elastically coupled, and closed on themselves virus capsid sub-structures of Figure 10C, the "floor" and "ceiling" connections are weak hydrogen bonds between adjacent protein clumps of the virus capsid. Figure 11B illustrates the most stressful standing wave oscillation mode on a ten member periodically spaced closed on itself protein clump ring. Each protein clump is oscillating 180 degrees out of phase with its adjacent protein clump, that is as one protein clump is moving upward from its equilibrium position the adjacent clumps are moving downward and visa versa. This type of oscillation mode puts maximum tension / stress on the weak hydrogen bonds holding the protein clumps to each other. At some relatively small displacement amplitude, the hydrogen bonds will fail and the ring / capsid coat will disintegrate. Rife observed viruses exploding like little hand grenades when they were exposed to their mortal oscillation rate (MOR).

Figures 11B, C, and D illustrate several standing wave oscillation modes that a ten member protein clump ring can support. Maximum stress / tension occurs at the location of standing wave nodes and the weakest regions on the protein clump ring is where the clumps bond together with mainly hydrogen bonds. That is approximately half way between adjacent protein clump center of mass. Therefore, we see that the oscillation modes illustrated in Figures 11B and D are very destructive where as that of 11C is only marginally destructive.

 

2) NEW TYPE OF "RIFE RAY TUBE"

2a) Tube construction

The new type of "Rife ray tube" I am proposing has two parallel wires going down the center of a relatively narrow and thin wall glass / quartz cylinder which is closed off at the ends and contains the standard Neon Sign gas mixture of neon - argon gas mixture at low pressure. >Figure 12 illustrates just such a "Rife ray tube". Figure 13 shows the various gas pressures used in the operation of various gas discharge devices. The gas discharge phenomena which we wish to make use of in our new "Rife type tube" is the corona discharge. The pressure range of interest is from around 30 mm Hg to around 200 mm Hg. Figure 14 shows a crossectional view of the two parallel wires running down the new tube and the qualitative ion distributions in the gas and the charge on the wires during one voltage oscillation cycle as illustrated in Figure 15.

In Figure 12 the ratio of (2S/D) must be greater than 5.85 or the wanted corona type discharge does not occur from parallel wires, but instead a spark occurs. See Gaseous Conductors by James Dillon Cobine for technical details ( pages 252 to 258 ).

 

2b) Tube light output pattern relative to electrical signal input

The light output pattern for a square wave amplitude modulated sine wave voltage driven discharge, such as that used in Figure 2, should be qualitatively the same for the new type of Rife ray tube. There will be subtle to not so subtle differences depending on the various gas pressure, voltage, and frequencies used. However, the same basic relationship between electron current and light intensity output will still hold. That is they are approximately directly proportional to each other. So, the same sort of time varying surface force on the target from the time varying light intensity can be expected as before with the old type Rife tubes.

2c) Tube as a multipole field generator

As before in the old type Rife tubes there will be rapidly changing back and forth net charge configuration inside the discharge tube driven by the supply voltage. This is clearly illustrated in Figure 14. And as before these oscillating net charge configurations have electromagnetic fields which extend outside the discharge tube and effect the ions in the target (patient) causing these ions to oscillate back and forth and generate pressure waves in the patient just as the old Rife tubes did.

2d) Tube as a direct ultrasound generator

As before in the old Rife type tubes the rapid reversals of electrode polarity causes ion current flows / movements that generate shock waves in the discharge tube gas. These shock waves in turn deform the tube wall and cause both compression and rarefaction waves in the wall material, all of which generate pressure waves in the room air in contact with the tube wall surface. The main frequency components produced in the room air are the same as the tube's driving voltage, however do to other types of plasma oscillation that can occur in this type of plasma discharge we should not be surprised by other frequency components being present. It should also be noted that this new Rife Tube design can produce much stronger shock waves, which in turn can produce much stronger pressure waves in the room air. The reason for the stronger shock waves is the close proximity of the parallel wire electrodes, their occupation of the entire tube length, the electrodes being close to the tube wall, and the large voltage gradients near the surfaces of the parallel electrode wires.

2e) Voltage wave forms to use with new / old Rife tubes

Figure 16A depicts square wave amplitude modulated pressure sine waves. The carrier frequency is nineteen times higher than the square wave modulation frequency. If the ultrasound carrier frequency is Fo and is modulated at a frequency F1, then by Fourier analyses, the target (patient) exposed to this ultrasound pattern will experience a set of ultrasound frequencies of Fo + NF1 , and Fo - NF1 ; where N is an integer (N=1,2,3, ... ). The larger N is the smaller the intensity of the associated pressure wave. Figure 16B is a graphical representation of the "hidden" Fourier frequency components. The Cn value is a coefficient which indicates the N th Fourier component's strength. The negative N axis does not represent negative frequencies, but is an artifact of the particular mathematical formulation used. The important thing to understand and note is that by choosing a tube driving voltage similar in form (shape) to that of Figure 16A, we can expect to a first approximation pressure waves of the same form as in Figure 16A. If the ultrasound frequency which kills a particular microbe is known, a voltage sine wave of that frequency can be supplied to the tube to generate that ultrasound frequency. If that voltage sine wave is amplitude modulated as illustrated in Figure 16A for the pressure sine wave, then we can expect a ultrasound frequency spectra generated in the target similar to that illustrated in Figure 16B. Now, if the amplitude modulation frequency is much lower than the carrier frequency, say 1 / 1,000 the carrier frequency instead of the 1 / 19 the carrier frequency as illustrated in Figure 16A and B, then we would expect a Fourier spectra qualitatively similar to Figure 16B, but now with the Fourier frequency components of significant intensity being bunched up close to the carrier frequency. The significans of this ultrasound frequency bunching together is that it can compensate for calibration drift in the carrier frequency and shifts in the lethal frequency that kills the microbe because of changes in the microbes environment, i.e. different host growth medium constituent concentrations. In Rife's time calibration drift in the carrier frequency was a real problem. Rife could set his carrier frequency on his frequency instrument for let us say 1,000,000 cycles per second as determined from frequency calibration the week before, however now do to temperature changes, humidity changes, and mechanical vibrations with associated electrical component movement the carrier frequency might now be 1,008,000 cycles per second. By amplitude modulating the carrier with a square wave frequency of around 5,000 cycles per second we create a Fourier spectra which has strong components with frequencies within 2,000 to 3,000 cycles per second of the desired carrier frequency of 1,000,000 cycles per second. Now if a particular microbe has a lethal ultrasound frequency of 1,000,000 cycles per second plus or minus 4,000 cycles per second, this sort of carrier amplitude modulation is very useful and in Rife's time apparently essential for practicle frequency instrument operation in the doctor's office setting.

With the electronic equipment available today we can easily slowly scan the carrier frequency through the entire frequency range Rife used and we can do this at high power. This allows us to use a shot gun like approach and destroy all microbes.

 

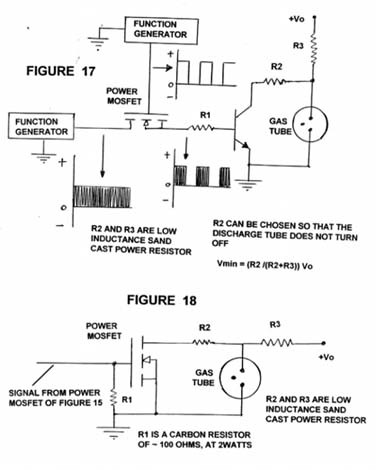
2f) Simple electrical circuits to use with new / old Rife tubes

Figures 15 and 18 illustrate two simple electrical circuits to be used to driver old / new type Rife tubes. The function generators shown can be regular electronic tech sweep function generators that have the sine wave, triangle wave, and square wave output voltage waves. This circuits can be run in pulsed mode or continuous mode. These circuits can be used to find the specific frequency(ies) of ultrasound to kill particular microbes. They can also just be used in the shot gun type approach mentioned in the last section. The use of these circuits assumes a certain familiarity with electrical circuits and how to calculate circuit component values. GOOD HUNTING.


IF YOU FOUND THIS ARTICLE OF REAL VALUE, PLEASE MAKE A HARD COPY WHILE STILL AVAILABLE.

RIFE MACHINE INFO

Return To Extras Page

Return To SERVICES Page

MORE ARTICLES BY GARY WADE

setstats1